 |
Мотор-редукторы 5МП31,5, 5МП40, 5МП50 - полный аналог серии 3МП31,5, 3МП40, 3МП50 |
|
 |
 |
Мотор-редукторы серии 5МП31,5, 5МП40, 5МП50


Мотор редукторы 5МП изготовлены в Чехии на заводе "TOS ZNOJMO" с использованием высококачественных материалов.
НАЗНАЧЕНИЕ:
Мотор-редукторы 5МП по своим характеристикам и присоединительным размерам полностью идентичены аналогичным планетарным мотор-редукторам 3МП. Благодаря меньшей стоимости и, самое главное, более высокому качеству, являются лучшей альтернативой мотор-редуктором 3МП.
Мотор-редукторы 5МП изготавливаются на заводе TOS ZNOJMO (Чехия) с использованием самого современного оборудования. Применением новейших методов механической и термической обработки материалов удалось добиться высоких показателей передаваемого крутящего момента и КПД. Из других достоинств стоит отметить низкий уровень шума и сравнительно малый вес мотор-редуктора.
УСЛОВИЯ ПРИМЕНЕНИЯ РЕДУКТОРОВ:
-
режим работы — продолжительный, с продолжительностью
работы 8–24 ч/сут;
-
нагрузка постоянная и переменная (в пределах номинального
крутящего момента) одного направления и реверсивная;
-
высота над уровнем моря — до 1000 м;
-
внешняя среда — неагрессивная, невзрывоопасная с содержанием
непроводящей пыли до 10 мг/м3
-
климатическое исполнение У(N) — умеренный климат, категория
размещения 3 — эксплуатация в помещениях, где колебания температуры
и влажности воздуха существенно меньше, чем на открытом воздухе, рабочая
температура окружающей среды от -45°С до +40°С, или Т — тропический
климат, категория размещения 2 -эксплуатация под навесом или в помещении,
где колебания температуры и влажности воздуха несущественно отличаются
от колебаний на открытом воздухе, рабочая температура окружающей среды
от -10°С до +45°С.
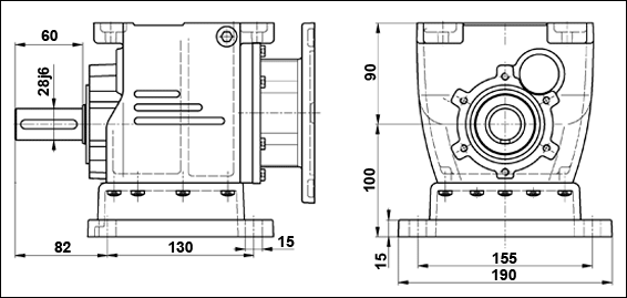
ГАБАРИТНЫЕ И ПРИСОЕДИНИТЕЛЬНЫЕ РАЗМЕРЫ
5МП31,5

5МП40

5МП50

МОНТАЖНЫЕ ПОЗИЦИИ

ТЕХНИЧЕСКИЕ ХАРАКТЕРИСТИКИ
| Наименование мотор-редуктора |
Номинальная частота вращения выходного вала,
об/ мин |
Фактическая частота вращения выходного вала,
об/ мин |
Передаточное число |
Номинальный крутящий момент на выходном валу,
Н·м |
Сервис-фактор |
Электродвигатель, кВт/ об/мин |
Кол-во ступеней |
5МП–31,5 |
3,55 |
|
|
|
|
|
|
5,6 |
7.76 |
121.42 |
|
|
0.09/700 |
3 |
7,1 |
7 |
100.13 |
|
|
0.09/700 |
3 |
7.2 |
121.42 |
120 |
1.7 |
0.09/900 |
3 |
9 |
9 |
100.13 |
|
|
0.12/900 |
3 |
12,5 |
12.2 |
110.26 |
140.4 |
1.4 |
0.18/1400 |
3 |
16 |
15.1 |
89.62 |
158.5 |
1.3 |
0.25/1400 |
3 |
18 |
17 |
79.59 |
140.8 |
1.4 |
0.25/1400 |
3 |
22,4 |
21.2 |
63.78 |
112.8 |
1.8 |
0.25/1400 |
3 |
28 |
29.1 |
47.1 |
121.4 |
1.6 |
0.37/1400 |
3 |
27.5 |
33.4 |
128.3 |
1.6 |
0.37/900 |
3 |
30 |
25.1 |
|
|
0.37/750 |
2 |
35,5 |
37.6 |
37.1 |
139.6 |
1.41 |
0.55/1400 |
3 |
36 |
25.1 |
144.6 |
1.4 |
0.55/900 |
2 |
36 |
20.7 |
|
|
0.55/750 |
2 |
45 |
46 |
30.3 |
114.2 |
1.8 |
0.55/1400 |
3 |
44 |
20.7 |
119.2 |
1.7 |
0.55/900 |
2 |
46 |
16.4 |
|
|
0.55/750 |
2 |
56 |
56 |
25.1 |
128.6 |
1.6 |
0.75/1400 |
2 |
55 |
16.4 |
128.5 |
1.6 |
0.75/900 |
2 |
71 |
69 |
20.7 |
153.4 |
1.3 |
1.1/1400 |
2 |
71 |
12.9 |
148.6 |
1.3 |
1.1/900 |
2 |
90 |
86 |
16.4 |
121.9 |
1.6 |
1.1/1400 |
2 |
92 |
9.9 |
113.8 |
1.5 |
1.1/900 |
2 |
112 |
110 |
12.9 |
130.5 |
1.5 |
1.5/1400 |
2 |
117 |
7.9 |
121.7 |
1.2 |
1.5/900 |
2 |
112 |
25.1 |
|
|
1.5/2800 |
2 |
140 |
143 |
9.9 |
146.6 |
1.2 |
2.2/1400 |
2 |
135 |
20.7 |
|
|
2.2/2800 |
2 |
180 |
181 |
7.9 |
116.3 |
1.3 |
2.2/1400 |
2 |
280 |
283 |
9.9 |
|
|
4.0/2800 |
2 |
365 |
372 |
3.76 |
75.9 |
1.3 |
3.0/1400 |
2 |
355 |
7.9 |
|
|
3.0/2800 |
2 |
5МП-40 |
5,6 |
5.9 |
118.54 |
|
|
0.12/700 |
3 |
7,1 |
|
|
|
|
|
|
9.0 |
|
|
|
|
|
|
12,5 |
|
|
|
|
|
|
16 |
15 |
50.7 |
|
|
0.37/750 |
3 |
18 |
18 |
50.7 |
|
|
0.55/900 |
3 |
22,4 |
|
|
|
|
|
|
28 |
28 |
50.7 |
|
|
0.75/1400 |
2 |
30 |
25.4 |
|
|
0.75/750 |
2 |
35,5 |
35.5 |
25.4 |
|
|
1.1/900 |
2 |
37.5 |
20 |
|
|
1.1/750 |
2 |
45 |
45 |
20 |
|
|
1.1/1400 |
2 |
56 |
55 |
25.4 |
|
|
1.5/1400 |
2 |
71 |
70 |
20 |
|
|
2.2/1400 |
2 |
90 |
92 |
15.2 |
|
|
2.2/1400 |
2 |
90 |
10 |
|
|
2.2/900 |
2 |
112 |
110 |
25.4 |
|
|
3.0/3000 |
2 |
117 |
7.7 |
|
|
3.0/900 |
2 |
140 |
140 |
10 |
|
|
4.0/1400 |
2 |
140 |
20 |
|
|
4.0/2800 |
2 |
180 |
182 |
7.7 |
|
|
5.5/1400 |
2 |
224 |
|
|
|
|
|
|
400 |
|
|
|
|
|
|
460 |
|
|
|
|
|
|
| 5МП–50 |
3,55 |
3,7 |
189 |
730 |
1 |
0,25/700 |
3 |
5,6 |
5,4 |
167,4 |
966 |
0,8 |
0,55/900 |
3 |
7,1 |
7,4 |
189,3 |
712,8 |
1,2 |
0,55/1500 |
3 |
9,0 |
8,3 |
167,4 |
630,1 |
1,3 |
0,55/1500 |
3 |
12,5 |
12 |
116,5 |
598 |
1,4 |
0,75/1500 |
3 |
16,0 |
15,4 |
90,7 |
465,6 |
1,8 |
0,75/1500 |
3 |
18,0 |
17,6 |
80,2 |
595,2 |
1,4 |
1,1/1500 |
3 |
22,4 |
22,4 |
63 |
468 |
1,4 |
1,5/1500 |
3 |
28,0 |
28,9 |
49,2 |
495,9 |
1,7 |
1,5/1500 |
3 |
35,5 |
36,9 |
38,5 |
569,6 |
1,4 |
2,2/1500 |
3 |
45,0 |
46,9 |
30,3 |
447,9 |
1,8 |
2,2/1500 |
3 |
56,0 |
53 |
26,8 |
540,5 |
1,5 |
3,0/1500 |
3 |
71,0 |
68,8 |
20,9 |
555 |
1,5 |
4,0/1500 |
2 |
90,0 |
89,7 |
16,2 |
585,4 |
1,3 |
5,5/1500 |
2 |
112 |
114,7 |
12,6 |
332,9 |
2,1 |
4,0/1500 |
2 |
112 |
115,5 |
12,6 |
454,6 |
1,5 |
5,5/1500 |
2 |
140 |
146,2 |
9,9 |
490 |
1,3 |
7,5/1500 |
2 |
180 |
186,7 |
7,8 |
562,7 |
1,1 |
11/1500 |
2 |
224 |
235,9 |
6,2 |
445,4 |
1,2 |
11/1500 |
2 |
400 |
414 |
7 |
340 |
0,9 |
15/3000 |
2 |
460 |
468 |
6,2 |
300 |
0,9 |
15/3000 |
2 |
460 |
468 |
6,2 |
220 |
1,2 |
11/3000 |
2 |
ПРИМЕР УСЛОВНОГО ОБОЗНАЧЕНИЯ ПРИ
ЗАКАЗЕ:
Мотор-редуктор 5МП50–45–2,2–G110,
где:
- 5МП50 - тип мотор–редуктора;
- 45 - номинальная частота вращения выходного
вала, об/мин;
- 2,2 - мощность электродвигателя, кВт;
- G110 - конструктивное исполнение по
способу монтажа;
Мы всегда рады видеть у себя наших старых партнеров и ждем новых.
Доставка во все регионы России!
|
 |
 |
|